一、项目基本情况
项目名称:宁夏工商职业技术学院5#教学楼阶梯教室采购安装固定课桌椅询价公告
采购单位:宁夏工商职业技术学院
采购最高限价:98400元
二、采购需求
1、按照甲方要求对5#教学楼2间阶梯教室采购安装固定课桌椅240位。
2、合同履行期限:合同签订后50个自然日内。
3.提供详细的技术参数。
三、供货商资质要求
1. 提供在中华人民共和国境内注册的法人或其他组织的营业执照(或事业单位法人证书,或社会团体法人登记证书)。
2. 法人授权委托书、法人及被授权人身份证复印件(法定代表人直接投标可不提供,但须提供法定代表人身份证复印件)。
3.经营范围:家具销售。
四、报价文件递交时间、地点
1.参与比价的供应商于2025年6月11日下午5点前需联系学校指定联系人进行报名,超出规定时间报名或未进行报名的供应商均不予认可。
2.供应商应于2025年6月12日下午2:30(北京时间)前派代表携带密封的报价文件至宁夏工商职业技术学院后勤处会议室参与现场评比。
五、评比方式:采用综合评比法
该项目将在满足询价公告要求的基础上,根据投标报价、提供技术参数及现场提供样品进行综合对比确定供应商,供应商在报价时需综合考虑制作、包装、运输、安装、成品保护等所有费用,成交后不再增加任何费用。
优先选用供应商提供样品质量和产品技术参数详细、符合甲方使用要求、质量更优、且在合理报价范围内价格低的供应商(对于报价明显低于其他供应商的报价,有可能不能诚信履约的,甲方有权要求其在评比现场合理的时间内提供书面说明,必要时提交相关证明材料;供应商如不能证明其报价合理性的,甲方将其作为无效投标处理。);
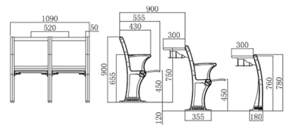
施工单位需提供:技术参数包含但不限于:规格、座板、靠背、写字板、站脚、书网、桌面支撑件、坚固螺丝、座架结构、回复机构等。该参数需加盖公章。
参数说明 |
规 格 |
中心距:520mm±2mm、座高:450mm±2mm、整椅深度:535mm±2mm。写字板高度:750mm±2mm。后5排850mm±2mm,其余750mm±2mm。横排布局为4座+5座+4座。 |
写 字 板 |
桌面板采用厚≥25mm宽度300mm±5mm刨花板桌板双面贴防火板(面板颜色为榉木色),木纹浮雕面,桌面前后两边采用防火板包边,(要求PVC与桌面颜色及木纹统一、匹配),环保耐用。左右两边采用≥1.5mm厚PVC热熔封边处理(要求PVC与桌面颜色及木纹统一、匹配),环保耐用。桌面回位机构桌面防止人与桌面边角发生碰撞而受伤,安全、牢固。 |
站 脚 |
采用金属一体压铸成型,无毛刺,无焊接,表面作防氧化处理后经高温喷涂处理,附着力强,抗冲击、耐腐蚀、不生锈、不褪色、经久耐用,站脚高度: 930mm±5mm脚掌长度≥360mm,宽度≥50mm;采用M8x600mm预埋式拉爆结构安装,外盖2个螺丝盖,防尘、安全、美观,牢固耐用。防尘、安全、美观。 |
椅 背 |
靠背:框架采用优质国标钢材≥1.5mm厚板料经模具冲压折弯成形,面板采用多层旋切木皮面贴防火板,实用牢固,承受力达到200KG。耐用,不褪色,环保符合国家E1级要求。 |
椅 座 |
座板:采用多层板经模具热压成型,面粘榉木皮或防火板,长425 mm±2mm宽440 mm±2mm厚度为≥15mm, 后经喷漆或PVC封边精制而成,牢固耐用,不褪色,静压达300KG。 |
桌面支撑件 |
固定桌面支撑件,采用≥1.5mm厚优质钢板冲压成型,无毛刺,无焊接;表面经喷涂处理,防锈蚀,经久耐用。 |
书 网 |
采用优质Ф5×Ф3mm冷拉钢丝,表面采用静电喷涂处理。书篓内腔不小于90mm,方便放取书物;采用4颗M6自攻螺丝连接于写字板左右两边,保证牢固不松动。 |
缧 丝 |
采用静电喷涂圆柱头内六角螺杆,坚固,耐用,不易生锈。 |
回复机构 |
采用≥13mm厚金属一体压铸成型座角码,无毛刺,无焊接,防夹手功能,座角码表面作防氧化处理后,高温喷涂处理。静音处理得力回复机构,坚固耐用。 |
六、参考图样


七、其他注意事项
1.报价文件要求:
(1)须密封装订,所有封口贴封条加盖公章;
(2)报价人需对所有内容进行报价,不允许只对其中部分内容进行报价。
(3)报价文件包括:报价单(加盖公章)、营业执照法人证书复印件(加盖公章)。
(4)报价文件应对采购内容及要求作出实质性完全响应。
3.本次采购不接受联合体报价,项目不接受分包、转包。
八、联系方式
名称:宁夏工商职业技术学院
地址:银川市西夏区大连西路531号
联系人:陈老师
联系电话:18795277239